Kami akan menyajikan kinerja, metode operasi yang aman, dan parameter teknis switchgear tegangan menengah KYN28 - 12

Menggunakan kondisi lingkungan
◆ Suhu udara sekitar: Batas atas 40 ° C Batas bawah -10 ° C di daerah umum:
◆ Ketinggian: 1000m;
◆ Kelembaban:
Kelembaban relatif: rata-rata harian tidak lebih besar dari 95%, dan rata-rata bulanan tidak lebih besar dari 90%;
Tekanan uap air: rata-rata harian tidak lebih dari 2,2 KPa, dan rata-rata bulanan tidak lebih dari 1,8 KPa
Kondensasi dapat terjadi ketika suhu anjlok, disertai kotoran, dan produk ini cocok untuk dua kondisi lingkungan yang lebih keras dari kondisi normal berikut:
(1) Kondensasi yang jarang terjadi (rata-rata tidak lebih dari dua kali sebulan) dengan kotoran ringan;
(2) Umumnya tidak ada kondensasi (tidak lebih dari dua kali setahun rata-rata) dengan polusi yang serius;
◆ Tidak ada kebakaran, bahaya ledakan dan polusi serius yang cukup untuk mengkorosi logam dan merusak isolasi dan tempat-tempat yang keras lainnya;
◆ Tidak ada getaran keras, benjolan dan kemiringan vertikal tidak lebih dari 80;
Catatan: (1) Penyimpanan dan transportasi diizinkan pada -30 °C;
(2)Ketika ketinggian melebihi 1000m, itu harus ditangani sesuai dengan JB / 2102 "Persyaratan Teknis untuk A:rea Ketinggian untuk Penggunaan Peralatan Listrik Tegangan Tinggi"; Ketika ketinggian tidak melebihi 2000m, peralatan tambahan bertekanan rendah tidak perlu mengambil tindakan apa pun;
(3)Ketika kondisi penggunaan yang sebenarnya berbeda dari yang disebutkan di atas, hal itu harus dinegosiasikan antara pengguna dan prodPenggunaann.
Model dan A:rti
K. Y Y Y Y n 28 - 12 / □ - □
Rating: Breaking Short Circuit Current (KA:)
Rating: saat ini (A:)
Rating: tegangan (KV).
└─Desain nomor serial
└─Dalam ruangan (indoor)
└─ Pindahkan tipe tersebut
- logam. armor armor
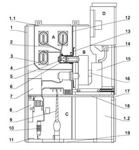
Diagram skematik dari struktur switchgear (switchgear)
Gambar 1 Gambar 1

A:. A:. A:. A:. Pemutus sirkuit kompartemen B. Kompartemen busbar
C. Ruang Kabel D. Ruang instrumen relay
1. Busbar 2. Disk kontak statis 3. Circuit breaker (pemutus sirkuit)
4. Switch Ground 5. Transformator saat ini
6. Kapasitif tegangan pembagi 7. Penangkap kilat (lightning arrester)
Gambar.2 Diagram skematis struktur switchgear

1. Perumahan 2. Cabang kecil busbar 3. Busbar sleeve 4. Busbar utama
5. Perangkat kontak statis 6. Kotak kontak statis 7. Transformator saat ini
8. Pergantian Ground 9. Kabel 10. Penangkapan yang terjadi 11. Grounding bus utama
12. Pemuatan dan partisi yang dapat dilepas 13. Partisi (Flap) 14. Plug sekunder
15. Circuit breaker handcart 16. A:lat pemanas 17. Partisi horizontal yang dapat diekstraksi
18. Mekanisme operasi saklar grounding 19. Pelat dasar (Base plate)
A:.Kamar busbar B. Ruang handcart pemutus sirkuit C. Ruang Kabel D. Ruang instrumen relay
1.1. Perangkat pelepas tekanan 1.2. Kontrol trunking kecil
Memenuhi standar-standar
Produk ini memenuhi standar berikut::
1.IEC-298
2.GB3906-1991
3.DLT404-19974. GB / T11022 - 1999
Skema kabel utama (primary wiring scheme)
| Nomor skema | 001 | 002 | 003 | 004 | 005 | |
Diagram rute utama (primary route diagram) |
| |||||
| Peringkat saat ini (a). | 630-4000 | |||||
Satu, satu waktu-waktu Tuan rumah Ingin Listrik listrik Utensil Yuan Yuan Yuan Yuan item | Pemutus sirkuit vakum (Vacuum circuit breaker) | 1 | 1 | 1 | 1 | 1 |
| Transformator arus LZZBJ9 - 12 | 2 | 2 | 2 | 3 | 3 | |
| Tegangan transformator RZL / REL | ||||||
| Pemutus Tekanan Tinggi (XRNP □) | ||||||
| Grounding Switch (EK6 / JN15 - 12) | 1 | 1 | 1 | |||
| Surge arrester HY5WZ - 17 / 45 | 3 | |||||
| Penggunaan | Menerima daya dan memberi makan daya | Menerima daya dan memberi makan daya | Menerima daya dan memberi makan daya | Menerima daya dan memberi makan daya | Menerima daya dan memberi makan daya | |
| Nomor skema | 006 | 007 | 008 | 009 | 010 | |
Diagram rute utama (primary route diagram) |
| |||||
| Peringkat saat ini (a). | 630-4000 | |||||
Satu, satu waktu-waktu Tuan rumah Ingin Listrik listrik Utensil Yuan Yuan Yuan Yuan item | Pemutus sirkuit vakum (Vacuum circuit breaker) | 1 | 1 | 1 | 1 | 1 |
| Transformator arus LZZBJ9 - 12 | 3 | 2 | 2 | 2 | 2 | |
| Tegangan transformator RZL / REL | ||||||
| Pemutus Tekanan Tinggi (XRNP) □) | ||||||
| Grounding Switch (EK6 / JN15 - 12) | 1 | 1 | 1 | |||
| Surge arrester HY5WZ - 17 / 45 | 3 | |||||
| Penggunaan | Feed (makan) | Kontak (kanan) | Kontak (kanan) | Kontak (kiri) | Kontak (kiri) | |
| Nomor skema | 011 | 012 | 013 | 014 | 015 | |
Diagram rute utama (primary route diagram) |
| |||||
| Peringkat saat ini (a). | 630-4000 | |||||
Satu, satu waktu-waktu Tuan rumah Ingin Listrik listrik Utensil Yuan Yuan Yuan Yuan item | Pemutus sirkuit vakum (Vacuum circuit breaker) | 1 | 1 | 1 | 1 | 1 |
| Transformator arus LZZBJ9 - 12 | 3 | 3 | 2 | 2 | 2 | |
| Tegangan transformator RZL / REL | ||||||
| Pemutus Tekanan Tinggi (XRNP □) | ||||||
| Grounding Switch (EK6 / JN15 - 12) | 1 | 1 | 1 | |||
| Surge arrester HY5WZ - 17 / 45 | 3 | |||||
| Penggunaan | Overhead Line (Kontak Kanan) | Overhead Line (Kontak Kanan) | Overhead entry dan exit lines | Overhead entry dan exit lines | Overhead entry dan exit lines | |
| Nomor skema | 016 | 017 | 018 | 019 | 020 | |
Diagram rute utama (primary route diagram) |
| |||||
| Peringkat saat ini (a). | 630-4000 | |||||
Satu, satu waktu-waktu Tuan rumah Ingin Listrik listrik Utensil Yuan Yuan Yuan Yuan item | Pemutus sirkuit vakum (Vacuum circuit breaker) | |||||
| Transformator arus LZZBJ9 - 12 | ||||||
| Tegangan transformator RZL / REL | /3 | 2/ | /3 | 2/ | /2 | |
| Pemutus Tekanan Tinggi (XRNP □) | 3 | 3 | 3 | 3 | 3 | |
| Grounding Switch (EK6 / JN15 - 12) | ||||||
| Surge arrester HY5WZ - 17 / 45 | 3 | 3 | 3 | |||
| Penggunaan | Pengukuran tegangan (voltage measurement) Penangkapan surge | Pengukuran tegangan (voltage measurement) Penangkapan surge | Pengukuran tegangan (voltage measurement) Penangkapan surge | Pengukuran Tegangan (Link Kiri) | Pengukuran Tegangan (Right Link) | |
| Nomor skema | 021 | 022 | 023 | 024 | 025 | |
Diagram rute utama (primary route diagram) |
| |||||
| Peringkat saat ini (a). | 630-4000 | |||||
Satu, satu waktu-waktu Tuan rumah Ingin Listrik listrik Utensil Yuan Yuan Yuan Yuan item | Pemutus sirkuit vakum (Vacuum circuit breaker) | |||||
| Transformator arus LZZBJ9 - 12 | 2 | 2 | 3 | 3 | 2 | |
| Tegangan transformator RZL / REL | 2/ | 2/ | 2/ | 2/ | /3 | |
| Pemutus Tekanan Tinggi (XRNP □) | 3 | 3 | 3 | 3 | 3 | |
| Grounding Switch (EK6 / JN15 - 12) | ||||||
| Surge arrester HY5WZ - 17 / 45 | ||||||
| Penggunaan | Pengukuran (measuring) Couplet yang benar | Pengukuran (measuring) Kulit kiri | Pengukuran (measuring) Kulit kiri | Pengukuran (measuring) Couplet yang benar | Pengukuran (measuring) Kulit kiri | |
| Nomor skema | 026 | 027 | 028 | 029 | 030 | |
Diagram rute utama (primary route diagram) |
| |||||
| Peringkat saat ini (a). | 630-4000 | |||||
Satu, satu waktu-waktu Tuan rumah Ingin Listrik listrik Utensil Yuan Yuan Yuan Yuan item | Pemutus sirkuit vakum (Vacuum circuit breaker) | 1 | ||||
| Transformator arus LZZBJ9 - 12 | 3 | Kapasitor Bm12.7 - 1 - 1 3 | ||||
| Tegangan transformator RZL / REL | /3 | Transformasi 1 | /4 | /4 | ||
| Pemutus Tekanan Tinggi (XRNP □) | 3 | 3 | (XRNT) 3 | 3 | 3 | |
| Grounding Switch (EK6 / JN15 - 12) | 1 | 1 | 1 | |||
| Surge arrester HY5WZ - 17 / 45 | 3 | 3 | 3 | |||
| Penggunaan | Masukkan Metering (metering) | Kabinet transformator yang digunakan (lebar kabinet ditentukan sesuai dengan ukuran variabel ukuran yang digunakan) | Kabinet Kapasitor Kabinet Kapasitor Kabinet Kapasitor | Pengukuran tegangan (voltage measurement) Penangkapan surge | Pengukuran tegangan (voltage measurement) Penangkapan surge | |

◆Sebuah handcart Kerangka gerobak tangan terbuat dari pelat baja tipis yang diproses oleh alat mesin CNC dan kemudian dipasangkan dan dilas. Menurut aplikasi, gerobak tangan dapat dibagi menjadi gerobak pemutus sirkuit, gerobak tangan transformator tegangan, gerobak tangan isolasi, gerobak tangan pengukuran dan gerobak tangan lainnya dengan spesifikasi yang sama, yang nyaman untuk saling tukar. Gerobak tangan memiliki posisi isolasi, posisi uji dan posisi kerja di lemari, dan setiap posisi dilengkapi dengan perangkat penentuan posisi untuk memastikan bahwa gerobak tangan tidak dapat dipindahkan dengan santai ketika berada dalam posisi di atas, dan interlock harus dilepaskan ketika gerobak tangan dipindahkan. |
|
◆B Busbar B Busbar Bus mengarah dari satu kabinet switch ke yang lain dengan cara bus cabang dan nampan kontak statis. Bus cabang datar terpasang ke nampan kontak statis dan bus utama, tanpa memerlukan penjepit tambahan atau koneksi breakout. Ketika pengguna dan proyek memiliki kebutuhan khusus, baut penghubung pada busbar dapat dikemas dengan isolasi dan tutup akhir. Ketika busbar melintasi partisi switchgear, itu diperbaiki dengan lengan busbar. Jika ada busur kesalahan internal, itu dapat membatasi penyebaran kecelakaan ke kabinet yang berdekatan dan memastikan kekuatan mekanis busbar. |
|
◆Ruang C Kabel C Transformator arus, saklar grounding, penangkal petir dan kabel dapat dipasang di ruang kabel, dan pelat aluminium yang dapat dilepas dengan celah disiapkan di bagian bawah ruang kabel untuk memastikan kenyamanan konstruksi di tempat. |
|
◆D Ruang Instrumen Relay Ruang instrumen relay digunakan untuk memasang berbagai relay, instrumen, indikasi sinyal, sakelar operasi dan komponen lainnya. Selain itu, ruang busbar kecil dapat ditambahkan ke bagian atas ruang instrumen sesuai dengan persyaratan pengguna, dan bus kontrol enam belas arah dapat diletakkan. |
|
◆Struktur kunci (lock structure) Sambungan antara pintu tengah dan kabinet mengadopsi struktur kunci, dan dilengkapi dengan mekanisme pengangkatan untuk membuat pintu tengah lebih nyaman untuk dibuka, dan ketika pintu tengah ditutup, kekuatan koneksi antara itu dan kabinet lebih baik, yang meningkatkan kemampuan untuk secara efektif menahan kesalahan pembakaran busur internal. |
|
◆Ruang instrumen D Relay Pintu ruang instrumen ditutup, dan ruang instrumen berada di depan. | ◆Perangkat pelepasan tekanan (Pressure relief device) Ketika pemutus sirkuit atau busbar utama, ruang kabel memiliki busur kesalahan internal, dengan munculnya listrik, tekanan udara di dalam switchgear meningkat, dan setelah mencapai tekanan tertentu, pelat logam pelepasan tekanan dari perangkat atas akan secara otomatis dibuka untuk melepaskan tekanan dan gas pembuangan untuk memastikan keselamatan operator dan switchgear. |