Kami akan mempresentasikan kinerja, metode operasi yang aman, dan parameter teknis switchgear tegangan menengah HXGN GN GN - 12
1. Lingkup penggunaan (scope of Penggunaan)

HXGN GN GN□-12 (FR) kotak tipe tetap A:C logam tertutup switchgear (disebut sebagai "lemari jaringan cincin") adalah jenis baru switchgear yang dirancang untuk renovasi dan konstruksi jaringan listrik perkotaan. Hal ini juga digunakan sebagai saat ini pemutus beban, arus sirkuit pendek dan arus piring penutupan dalam sistem catu daya, dan cocok untuk A:C 3 - 10KV, sistem distribusi daya 50Hz. Ini banyak digunakan dalam proyek konstruksi dan renovasi jaringan listrik perkotaan, perusahaan industri dan pertambangan, gedung bertingkat tinggi dan fasilitas umum, dll., sebagai unit unit catu daya jaringan cincin dan peralatan terminal, memainkan peran distribusi daya, kontrol dan perlindungan peralatan listrik, dan juga dapat dipasang di gardu yang sudah terpasang. Kabinet jaringan cincin ini dilengkapi dengan saklar beban vakum dan mekanisme operasi pegas, yang dapat dioperasikan secara manual atau listrik. S Saklar grounding dan saklar isolasi dilengkapi dengan mekanisme operasi manual, dan satu set lengkap kabinet jaringan cincin ini kuat dan kecil. Tidak ada risiko pembakaran dan ledakan, dan memiliki fungsi "lima pencegahan" yang handal. Kabinet jaringan cincin ini sesuai dengan ketentuan yang relevan dari GB3960 "3 ~ 35KV A:C Metal S Switchgear" dan IEC60420 "Tegangan Tinggi A:C Load S Switch-FPenggunaan adalah Kombinasi Peralatan Listrik" standar.
2. Model dan Maknanya
HXGN GN GN□-12 (F.R.) -12 (F.R.)
H: Jaringan Ring (Ring Network)
X: Jenis kotak
G: S Stasioner
N: D. D. D. D.alam ruangan
□: D. D. D. D.esain nomor serial
12: Rated tegangan
(F.R)Kombinasi: Load switch-fPenggunaan
3. Kondisi penggunaan normal (normal Penggunaan conditions)
1. S Suhu udara sekitar: -15. 0 40 ° C;
2. Ketinggian: 1000m dan di bawah;
3. Kondisi kelembaban: rata-rata harian tidak lebih dari 95%, tekanan uap air rata-rata harian tidak lebih dari 2,2 kPa, rata-rata bulanan tidak lebih dari 90%, dan tekanan uap air rata-rata bulanan tidak lebih dari L 8 kPa;
4. Intensitas gempa bumi: tidak lebih dari 8 derajat;
5. Tidak ada polutan yang jelas seperti korosif atau gas yang mudah terbakar.
Catatan: Jika kondisi penggunaan normal di atas terlampaui, pengguna dapat bernegosiasi dengan Perusahaan.
4. Parameter teknis utama
Nomor S Serial | nama | unit unit | D. D. D. D.ata-data | |
1 | Rated voltage (voltage tegangan) | KV | 12 | |
2 | Rated saat ini | Load switchgear Load switchgear | A: | 630 |
S Switchgear yang dikombinasikan | 125 | |||
3 | Rated short-circuit breaking arus | KA: | 31.5 | |
4 | Rated aktif beban istirahat saat ini | A: | 630 | |
5 | Rated untuk jangka pendek menahan arus | KA: | 20 | |
6 | Rated peak tahan saat ini | KA: | 50 | |
7 | Frekuensi daya yang dinilai dinilai untuk menahan interfase tegangan, tanah/break | KV | 42/48 | |
8 | Guncangan kilat tahan terhadap fase tegangan, tanah/break | KV | 75/85 | |
9 | Kehidupan Mekanik | waktu-waktu | 10000 | |
10 | Rated Handover Current (Combined A:ppliances) | A: | 3150 | |
11 | Bagaimana cara kerjanya? Bagaimana cara kerjanya | Manual atau Listrik | ||
12 | Tingkat perlindungan | IP3X adalah IP3X | ||
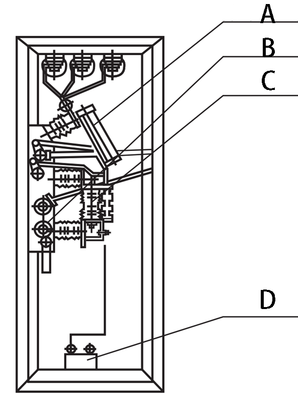
5. Karakteristik struktural (as ditunjukkan pada Gambar 2 dan Gambar 3)
1. Karakteristik kinerja struktural
1.1.1 Kabinet jaringan cincin mengadopsi profil 8MF, dan seluruh bingkai dipasang dengan lubang modulus B = 2 (tan.
Kabinet jaringan cincin L1.2 dilengkapi dengan saklar beban FZN21 - 12D. D. D. D. atau peralatan listrik kombinasi sekering FZRN2 RN21 - 12D. D. D. D., yang memiliki saklar isolasi, saklar beban vakum, dan saklar grounding, dan saklar pemutus dan saklar grounding memiliki istirahat yang jelas.
1,3 S Saklar isolasi, saklar beban vakum, saklar grounding, dan pintu lemari memiliki perangkat penggalian dan pengikatan yang sempurna dan handal, yang dapat secara efektif mencegah kesalahan operasi dan memastikan pemeliharaan yang aman.
1.1.4 Hal ini dapat dioperasikan secara manual dan listrik.
1. Pintu lemari dan pintu instrumen dari lemari pengukuran L5 dilengkapi dengan pin penyegelan.
1.1.6 Kombinasi sekering kabinet listrik dan tabung meleleh dengan pin penembakan. D. D. D. D.alam kasus sirkuit pendek, pin penembakan menyentuh mekanisme tersandung untuk mencapai pembukaan dan pemutusan yang cepat, yang dapat secara efektif melindungi peralatan listrik.
1.L 7 ring mesh kabinet mengadopsi operasi depan, pemasangan dinding yang andal.
2. Fungsi penguncian "Lima pencegahan"
2. 2.1 Operasi transmisi daya: Hanya ketika pintu kabinet ditutup dan terkunci, dan saklar tanah dioperasikan ke posisi "terbuka", saklar beban dapat dioperasikan untuk menutup posisi.
2.2.2 Operasi pemadaman listrik: Ketika saklar beban berada dalam posisi isolasi, saklar grounding dapat ditutup, dan ketika saklar grounding berada dalam posisi tertutup, partisi isolasi dimasukkan ke tempat untuk membuka pintu lemari.
2.1. 3 Pemutus vakum secara andal saling terkait dengan pisau isolasi, dan pisau isolasi dan pisau grounding dihubungkan satu sama lain dan saling terkait dengan pintu kabinet, dan partisi isolasi juga saling terkait dengan pintu kabinet.
![]() | Gambar 2 Gambar 2 Gambar 2 A:: Insulator B: Melalui casing dinding C: Mekanisme Operasi D. D. D. D.: Grounding switch |
![]() | Gambar 3 Gambar 3 A:: S Sekering (gerbang pisau isolasi) B: Mekanisme kontrol peluru C: Load switch D. D. D. D.: Transformator arus |
6. Prinsip pasokan daya jaringan cincin (ring network power supply)
Catu daya jaringan cincin < terdiri dari tiga unit unit dasar (lihat gambar) Kabinet saluran masuk dan outlet digunakan sebagai unit unit jaringan cincin, yang dapat diisolasi dalam waktu ketika kesalahan terjadi, dan unit unit lain memastikan pasokan daya berkelanjutan dari cabang trafo pengguna. Kabinet jaringan loop pengguna memainkan peran dalam melindungi dan mengisolasi trafo, yang nyaman untuk perawatan dan perombakan. Kabinet jaringan cincin dapat diperluas sewenang-wenang, dan dapat terdiri dari berbagai skema kombinasi dari unit unit dasar sesuai dengan kebutuhan pengguna.
![]() | ||
| Kabel inlet dan outlet line cabinet Kabel inlet dan outlet Kabel outlet cabinet |
7. D. D. D. D.iagram skema sirkuit utama
Nomor skema | 01 | 02 | 03 | 04 | 05 | 06 |
D. D. D. D.iagram skema sirkuit utama | ![]() | |||||
Penggunaan | Kabel masuk dan keluar dari garis | Kabel masuk dan keluar dari garis | Kabel masuk dan keluar dari garis | Kabel masuk dan keluar dari garis | Kabel masuk dan keluar dari garis | Kabel masuk dan keluar dari garis |
Isolasi (isolation)/Load / kombinasi peralatan | GN GN GN□-12D. D. D. D. -12D. D. D. D. | GN GN GN□-12D. D. D. D. -12D. D. D. D. | GN GN GN□-12D. D. D. D. -12D. D. D. D. | FZN21 - 12D. D. D. D. FZN21 - 12D. D. D. D. | FZN21 - 12D. D. D. D. FZN21 - 12D. D. D. D. | FZN21 - 12D. D. D. D. FZN21 - 12D. D. D. D. |
FPenggunaan adalah | RN3 RN3 | RN3 RN3 | ||||
Transformator saat ini | LZZBJ9 LZZBJ9 LZZBJ9 | LZZBJ9 LZZBJ9 LZZBJ9 | ||||
Penangkapan | HY5W | |||||
Nomor skema | 07 | 08 | 09 | 10 | 11 | 12 |
D. D. D. D.iagram skema sirkuit utama | ![]() | |||||
Penggunaan | Kabel masuk dan keluar dari garis | Kabel masuk dan keluar dari garis | Kabel masuk dan keluar dari garis | Kabel masuk dan keluar dari garis | Kabel masuk dan keluar dari garis | Kabel masuk dan keluar dari garis |
Isolasi (isolation)/Load / kombinasi peralatan | FZN21 - 12D. D. D. D. FZN21 - 12D. D. D. D. | FZN21 - 12D. D. D. D. FZN21 - 12D. D. D. D. | FZN21 - 12D. D. D. D. FZN21 - 12D. D. D. D. | FZN21 - 12D. D. D. D. FZN21 - 12D. D. D. D. | FZN21 - 12D. D. D. D. FZN21 - 12D. D. D. D. | GN GN GN□-12D. D. D. D. -12D. D. D. D. |
FPenggunaan adalah | RN2 RN2 | RN2 RN2 | RN2 RN2 | |||
Transformator saat ini | LZZBJ9 LZZBJ9 LZZBJ9 | LZZBJ9 LZZBJ9 LZZBJ9 | LZZBJ9 LZZBJ9 LZZBJ9 | LZZBJ9 LZZBJ9 LZZBJ9 | ||
Transformator tegangan (voltage transformator) | JD. D. D. D.Z | JD. D. D. D.Z | JD. D. D. D.Z | |||
Penangkapan | HY5W | HY5W | HY5W | |||
Nomor skema | 13 | 14 | 15 | 16 | 17 | 18 |
D. D. D. D.iagram skema sirkuit utama | ![]() | |||||
Penggunaan | Metering kabel inbound dan outbound lines | Kabel masuk dan keluar dari garis | Kabel masuk dan keluar dari garis | Kabel masuk dan keluar dari garis | Metering kabel inbound dan outbound lines | Outlet kabel overhead yang masuk |
Isolasi (isolation)/Load / kombinasi peralatan | FZRN2 RN21 - 12 | FZRN2 RN21 - 12D. D. D. D. | FZRN2 RN21 - 12D. D. D. D. | FZRN2 RN21 - 12D. D. D. D. | GN GN GN□-12D. D. D. D. -12D. D. D. D. | |
FPenggunaan adalah | RN2 RN2 | S S□LA:J LA:J LA:J LA:J | S S□LA:J LA:J LA:J LA:J | S S□LA:J LA:J LA:J LA:J | RN2 RN2 | RN3 RN3 |
Transformator saat ini | LZZBJ9 LZZBJ9 LZZBJ9 | LZZBJ9 LZZBJ9 LZZBJ9 | LZZBJ9 LZZBJ9 LZZBJ9 | LZZBJ9 LZZBJ9 LZZBJ9 | ||
Transformator tegangan (voltage transformator) | JD. D. D. D.Z | JD. D. D. D.Z | ||||
Nomor skema | 19 | 20 | 21 | 22 | 23 | 24 |
D. D. D. D.iagram skema sirkuit utama | ![]() | |||||
Penggunaan | Outlet kabel overhead yang masuk | Outlet kabel overhead yang masuk | Outlet kabel overhead yang masuk | Outlet kabel overhead yang masuk | Outlet kabel overhead yang masuk | Outlet kabel overhead yang masuk |
Isolasi (isolation)/Load / kombinasi peralatan | FZRN2 RN21 - 12D. D. D. D. | FZRN2 RN21 - 12D. D. D. D. | FZRN2 RN21 - 12D. D. D. D. | FZRN2 RN21 - 12D. D. D. D. | FZRN2 RN21 - 12D. D. D. D. | FZRN2 RN21 - 12D. D. D. D. |
FPenggunaan adalah | S S□LA:J LA:J LA:J LA:J | S S□LA:J LA:J LA:J LA:J | S S□LA:J LA:J LA:J LA:J | S S□LA:J LA:J LA:J LA:J | ||
Transformator saat ini | LZZBJ9 LZZBJ9 LZZBJ9 | LZZBJ9 LZZBJ9 LZZBJ9 | LZZBJ9 LZZBJ9 LZZBJ9 | LZZBJ9 LZZBJ9 LZZBJ9 | ||
Transformator tegangan (voltage transformator) | ||||||
Nomor skema | 25 | 26 | 27 | 28 | 29 | 30 |
D. D. D. D.iagram skema sirkuit utama | ![]() | |||||
Penggunaan | Kontak kontak | Kontak kontak | Pengukuran dan penghubung (measuring and liaison) | Pengukuran dan penghubung (measuring and liaison) | Kontak overhead line | Kontak overhead line |
Isolasi (isolation)/Load / kombinasi peralatan | FZRN2 RN21 - 12 | FZRN2 RN21 - 12D. D. D. D. | FZRN2 RN21 - 12D. D. D. D. | FZRN2 RN21 - 12 | ||
FPenggunaan adalah | S S□LA:J LA:J LA:J LA:J | RN2 RN2 | RN2 RN2 | S S□LA:J LA:J LA:J LA:J | ||
Transformator saat ini | LZZBJ9 LZZBJ9 LZZBJ9 | LZZBJ9 LZZBJ9 LZZBJ9 | ||||
Transformator tegangan (voltage transformator) | JD. D. D. D.Z | JD. D. D. D.Z | ||||
8. Bentuk dan ukuran instalasi
1. Ukuran keseluruhan kabinet jaringan cincin (ring network cabinet) Ukuran keseluruhan kabinet jaringan cincin (ring network cabinet)
![]() | ![]() | Kabinet lebar arah |
| D. D. D. D.eskripsi: Ketinggian dapat dipilih | Kabinet kedalaman arah |
2. Ukuran pemasangan kabinet jaringan cincin
![]() |
| Catatan: Baja saluran harus diandalkan grounded |